地面沉降的解决方法
地面沉降的解决方法
地基下沉,目前非常多见。我们日常说的地基下沉,即地基沉降。
建(构)筑物在建成之后,根据结构层高等的差异,会有不同的沉降期,而地基下沉也是不可避免的,只是程度不同而已,允许范围内的均匀沉降不会造成太大影响,但是过大的沉降,特别是
不均匀沉降,会使建筑物发生倾斜、开裂以致不能正常使用
。
一、地基下沉的常见表现
住宅楼房
:
①门窗:无法关严、地下室采光口下沉;②墙壁:墙体出现裂缝(裂缝顶端通常较宽)、砖墙脱落;③地板:地板不平有斜度(地板放圆球即可测试),台阶下陷;④管线:屋内水管漏水、地漏渗水。
工业厂房
:
①精密产品:精度下降、残次品增加;②生产设备:机器运转异常,产线设备整体倾斜;③地坪地面:地面不平整;④仓库货架:出现不同程度倾斜。

二、地基下沉处理方法
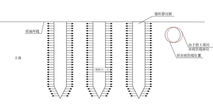
1.锚杆静压桩法
工艺复杂需破拆地面,对建筑底板和底板钢筋破坏较大、挤土效应易使周边发生较大的侧向位移和隆起。对场地要求较高,耗费时间和人力物力,高成本高费用。

优势:
过去几十年间,锚杆静压桩因其低廉的价格和老派业内人士的推崇,在民间获得广泛应用,使其一度成为普遍采用的地基下沉的解决方法。
劣势:
(1)
需要破拆地面
,对
建筑底板和底板钢筋
造成不可逆转的破坏静压桩施工需要在原建筑底板开凿压桩孔,桩孔洞竖向没有加强筋时,则需要在开凿桩孔时切断某些配筋,这将不可避免地对建筑底板和底板钢筋造成永久性破坏。

(2)会产生
挤土效应
锚杆静压桩为挤土桩,在压桩过程中会产生挤土效应,使桩周发生较大的侧向位移和隆起桩体倾斜,严重影响桩基承载力引起桩基偏移,从而造成建筑物的倾斜。



(以上图源网络,侵删)
(3)工艺
流程较为复杂
复杂冗长的施工流程和工艺,要求每一个环节都要做好质量把控,一旦其中一环出现问题,必然会影响后续环节的质量控制。

(4)
施工周期较长
锚杆静压桩需要现场制作桩体并打设锚杆,同时需要大量时间进行沉桩。整体施工进度会被放缓,施工周期相对较长。

(图源网络,侵删)
2.“土层固化”技术
“土层固化”技术结合
桩筏互补
原理,使基础以下原始地基形成“筏型复合地基加体”和“复合桩基”,通过高分子复合材料充填土层空隙,使得土体内
形成新的复合地基
,提高了土体的强度和地基承载力。在沉降量较大区域,适当调节加固压力,凝固时间和注入速度,在地基土
填充密实和挤密
的过程中,解决地基下沉,使地坪抬升调平。
复合地基加固平台+不规则圆柱体复合桩基
形成的结构体,提高了地基承载力、地基整体稳定性和耐久性,成功解决建筑地坪不均匀沉降,达到抬升调平的目的。“土层固化”技术,该技术在地层加固、沉降控制和建筑抬升纠偏方面具有“无干扰、设备小型化、周期短、效果优、绿色环保”等优势。
“土层固化”技术优势:
(1)创造优质工程,有效提高了地基承载力和整体稳定性。
这种技术采用“既有建筑物地坪不均匀沉降加固调平修复结构”实用新型专利并结合独立研发的高分子复合材料进行地基下沉加固与抬升处理。环保无毒,无污染,凝固速度快,注入地层后,材料能够充填土体缝隙,并和原有土体结合成一个稳固性更高的新结构体,提高地基整体承载力,达到解决地基下沉的目的。

(2)创造价值工程,节约时间成本和搬迁成本。
仅需在地面挖出
42mm
微型孔径,进行加固材料填注,对地面原有结构破坏性小,所以
工厂无需停工停产就能解决地基下沉
。

(3)创造科技工程,利用激光监测技术,可精确控制治理区域的标高。
“土层固化”技术相较传统施工方法,加固效果更好,并且可以结合高科技电子设备在施工时进行检测,在解决地基下沉时对沉降部位进行
精准抬升
。

(使用激光监测技术,精准控制标高)
三、“土层固化”技术实际应用
“土层固化”地基下沉技术现广泛应用于厂房、楼房的基础加固抬升,
也在地基加固实践中验证了此项技术的可行性,安全性。2025年,位于广西岑溪的一幢高层住宅,10号楼出现地基不均匀沉降,累计最大沉降量约70mm,整个建筑向西北倾斜,建筑随时都有倒塌的危险。

(10号楼整体向西北倾斜)
其 10号楼共三个单元,10号楼三单元建筑长25.2m,宽20.7m,建筑层高25层,剪力墙结构,基础形式为筏板基础,因原设计问题,导致建筑沉降,开发商无奈之下,计划对楼体进行拆除,但是在了解“土层固化”技术原理和施工方既有建筑物的抬升纠偏的成功案例后,他们决定使用这项技术进行地基下沉修复。由于使用了“土层固化”技术,加上施工团队的丰富经验,经过
紧锣密鼓的施工后,土体的强度和防渗性能有效改善,地基承载力大幅提高
,地基下沉问题得以解决,实现了建筑物地基下沉,基础加固和抬升纠偏的目的,使建筑基础达到承载力要求和允许偏差范围内。
此次施工,充分发挥了“土层固化”的地基下沉处理技术“微扰动、零污染、工期短”的优势,及时地解决了困扰开发商许久的地基沉降问题,挽回了顾客公司的品牌信誉。
-
- 梦幻西游手游法宝要多少(梦幻西游手游解析法宝对市场价格影响)
-
2025-11-06 19:50:34
-
- 富途控股什么上市(万途控股上市了吗)
-
2025-11-06 19:48:19
-
- 斗战神石芒铁(斗战神石芒铁萃怎么得)
-
2025-11-06 19:46:04
-
- 福州宝龙广场地铁站叫什么?福州宝龙广场停车收费标准
-
2025-11-06 19:43:49
-
- 逆水寒熔断是什么意思?(驾驶证熔断是什么意思?)
-
2025-11-06 19:41:34
-
- 没身份证怎么坐火车怎么取票,在网上买了火车票怎么坐火车
-
2025-11-06 19:39:19
-
- 董酒价格38度浓香型(99年董酒价格38度)
-
2025-11-06 19:37:04
-
- 美人鱼传说干红2006(美人鱼传说葡萄酒)
-
2025-11-06 19:34:49
-
- 浓白葡萄酒(白葡萄酒用什么酒杯)
-
2025-11-06 19:32:34
-
- 夫妻间心灵上无法沟通
-
2025-11-06 19:30:19
-
- 儿童防晒霜哪个牌子防晒效果最好(2025年EWG儿童防晒霜红黑榜:哪些拉黑?哪
-
2025-11-06 17:46:28
-
- 端午佩香囊的寓意(由香入道的佛门典故值得你了解)
-
2025-11-06 17:44:13
-
- 概率公式总结大全(常见的8个概率分布公式和可视化)
-
2025-11-06 17:41:58
-
- 冬天身上烟味大怎么去掉,怎样有效去除身上的烟味
-
2025-11-06 17:39:43
-
- 杜甫的三吏三别中三吏是哪三个?三别又是哪三个?
-
2025-11-06 17:37:28
-
- 农历鬼月是几月?有什么讲究有哪些禁忌一定要注意?
-
2025-11-06 17:35:13
-
- 努洛伊曼皇宫(努洛伊曼皇宫造价)
-
2025-11-06 14:07:12
-
- 稻花香白酒42度黄金宴6 稻花香知行42度白酒
-
2025-11-06 14:04:57
-
- 电脑硬件分享教程(有哪些电脑硬件圈子里才知道的小秘密)
-
2025-11-06 14:02:42
-
- 命不久矣(命不久矣的体质快穿)
-
2025-11-06 14:00:27



从人均985到遍地键盘侠,我在WP7吧看到了互联网的悲哀
吴亦凡被全网封杀,妈妈吴秀芹上线几十次,网友说她做对一件好事
受贿1787万余元!联通资产运营有限公司原副总张清贵一审获刑11年半
卡尔维诺:一位因口头表达能力差而走上写作道路的“苦行派”作家
河南银保监局打出政策组合拳 全力支持稳住经济大盘
开天眼后到底能看到什么?震惊了千万人!不可思议!
除了小龙虾,五一档竟然还有哲学与诗?
河北名山,爬山好去处,你去过几座?第一篇
黄荣奇和史鸿飞,风格完全相反,却凸显出国内球员的一大问题